服務熱線:15195518515在線客服:1464856260
傳真號碼:0517-86801009
郵箱號碼:1464856260@qq.com
網 址:http://m.chinaztgs.com
地 址:江蘇省金湖縣理士大道61號
液氯液位計的工作原理
發布時間:2021-11-26 09:25:36??點擊次數:1871次
液氯液位計廣泛應用于水、鹽酸、硫酸、硝酸、工業廢水、藥液等各種液位的測量。那么液氯液位計是如何工作的?其結構又是怎樣的呢?本文擬結合液氯液位計的原理及結構圖介紹如下。

液氯液位計是基于連通器和磁性耦合原理實現液位實時測量的。當被測容器中的液位升降時,浮筒內的磁性浮子也隨之升降,浮子內的永久磁鋼通過磁性耦合驅動浮筒外部的磁性翻片翻轉180°,翻片兩面分別涂有不同的顏色(通常為紅色和白色),以指示液位的位置。一般地,當容器內液位上升時,翻片由白色轉變為紅色,當容器內液位下降時,翻片由紅色轉變為白色,指示器的紅白交界處即為容器內液位的實際高度,從而實現液位的準確測量。
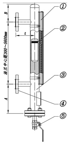
液氯液位計結構圖如下:

在上面的液氯液位計結構圖中:
①為指示器,也稱做顯示面板,指示器起著就地顯示的作用,方便遠距離觀察液位的實際情況,指示器一般與浮筒捆綁在一起,方便安裝。
②為磁浮子,磁浮子位于浮筒里面,與被測液體直接接觸,當被測容器中的液位升降時,磁浮子也隨之升降,從而指示當前的液位。磁浮子根據不同的液體密度有不同的選擇,同時根據不同的液體酸堿性有不同的材質選擇。
③為浮筒,浮筒通過過程連接與被測容器連接在一起,從而形成連通器,實現液位的測量,浮筒的材質根據不同的液體性質有不同的選擇,例如不銹鋼304、316L、內襯、PVC等等。
④為連接法蘭,過程連接法蘭是浮筒與被測容器之間的連接小管上的緊固件,根據不同的液體性質,不同的工況,有不同的壓力和直徑選擇。兩個連接法蘭之間的距離為液氯液位計的測量量程。
⑤為排污閥,排污閥是浮筒下面的配件,當液氯液位計需要清洗或調試時,能夠起到關鍵作用。



|